此类染色设备适用于毛纺织染整厂对散毛或其他散纤维的染色。
1.NC464B型散毛染色机
如图7-12所示,染色机染色时,先将洗净的散毛均匀地装入散毛桶内,装满后将散毛桶吊入染槽中,压紧顶盖,开动循环泵,染液由散毛桶的多孔芯轴喷出,通过纤维层,再回到循环泵。
染色的温度和时间按升温工艺曲线控制,染毕放去残液,注入清水,循环洗净纤维上的浮色,然后吊起散毛桶,取出纤维。该机每次可染羊毛100kg。

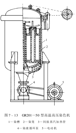
2.GR201—50型高温高压染色机
如图7-13所示,高温高压染色机主要用于染涤纶散纤维、涤纶毛球及涤纶绞纱。涤纶一般在130℃左右进行染色。在此温度下染色,其匀染性和上染率都比较理想。GR201—50型高温高压染色机有3个染笼,可装散纤维100kg或绞纱50kg。染色时,将纤维装入染笼,装满后用吊车将染笼吊入染槽中,盖好密封盖,开动循环泵使染液循环,升温染色,染毕放去残液,注入清水洗涤纤维,开启顶盖,吊出染笼,取出纤维。

版权声明
本文仅代表作者观点,不代表本站立场。
发布的有些文章部分内容来源于互联网。如有侵权,请联系我们,我们会尽快删除。



